K. M. Sutherland
  • Home
  • Resume
  • Projects
  • Contact
  • More...
    • Home
    • Resume
    • Projects
    • Contact
  • Home
  • Resume
  • Projects
  • Contact
Your Cart

Rebud Labs NA1 Nucleic acids extraction System

Redbud NA1 is an innovative automation platform designed for rapid nucleic acids extraction assays, capable of processing up to eight samples in under thirty minutes. Microfluidic workflows often experience prolonged reaction times due to challenges in fluid mixing within low-inertia environments. Utilizing Redbud Lab's patented micro-post technology, Redbud NA1 accelerates reactions significantly, surpassing diffusion time scales by orders of magnitude. These micro-posts operate similarly to numerous tiny stir bars, which can be controlled through a changing magnetic field. This groundbreaking technology enables the automation of industry-standard bead-based assays within a disposable cartridge.

Image description

Microfluidic mixing chamber with Redbud posts

Image description

Redbud posts. SEM image

To achieve successful commercialization of this groundbreaking technology, Redbud Labs aimed to create the most reliable and user-friendly assay automation platform available. We refer to this as an automation platform because it has the potential to perform many different assay workflows in addition the the extraction assay that is runs now. Our project's objective was to provide needed automation for laboratories who normally do their extractions by hand. We noted that existing automation solutions were costly, bulky, complex, and unreliable.


Identifying a market opportunity, we established ambitious goals. Our device would cost one tenth of our competitors' prices and would not necessitate annual maintenance contracts. It would have a lifespan of 10,000 hours without the need for preventative maintenance, be compact enough to fit within a biosafety cabinet, and be the simplest machine to operate in the lab, designed with a single-button workflow that requires minimal user interaction.


Image description

Prototyping assembly

Image description

Prototype 2 and prototype 3 of NA1

Image description

Single sample demonstration system

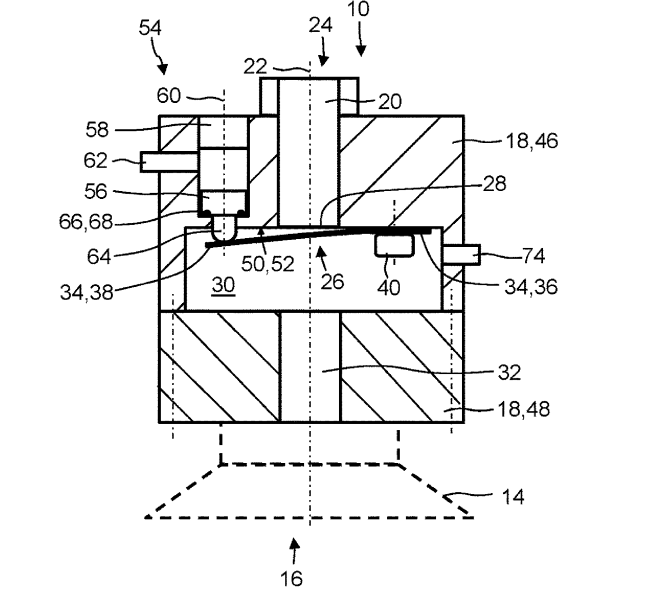
The instrument's function is to accept a microfluidic cartridge, inserted by the user, and to manipulate the internal fluids to replicate the steps of a manual extraction assay. The cartridge is pre-loaded with all necessary reagents, and the user adds up to eight of their own samples to the designated wells. The instrument precisely heats the reaction chamber on the cartridge and utilizes low-pressure air to circulate fluids within the cartridge. Both waste fluids and purified nucleic acids are retained in the cartridge, which is removed by the user. The extracted samples are recovered in PCR tubes and the cartridge, with the waste fluid inside, is disposed of.


As the lead design engineer, I was responsible for taking a benchtop prototype through multiple design iterations before transitioning to production with contract manufacturers. This project presented some familiar obstacles along with new challenges grew my engineering skill set. I worked to not only developed a novel laboratory device, but also create a robust library of components and methods used to interact with the microfluidic cartridge. Moving forward, we will be able to quickly adapt entirely new assay workflows to a similar instrument and cartridge setup.  

Image description

8-sample microfluidic cartridge

Image description

Purified nucleic acids output from Redbud NA1

© All rights reserved.

Accurate thermoplastic Material Feed

Electroimpact's Scalable Composites Robotic Additive Manufacturing (SCRAM) system is a true 6-axis continuous fiber reinforced 3D printer, enabling the tool-less rapid fabrication of aerospace-grade integrated composite structures. High-performance thermoplastics combined with a high percentage of continuous fiber reinforcement are used to produce parts with exceptional mechanical properties previously unheard of in the world of 3D printing.


The SCRAM system uses three separate process ends for building composite structures. Two of these are heated filament extruders, much like what you would see on a hobby 3d printer. The third is a tape laying system used to bond continuous fiber thermoplastic tape to the structure. Each of these processes requires a different material to be dispensed. An ABS-like material is used for printing a tool a tool that the composite structure will be build on. The other two materials are thermoplastics, one is a round filament for extruding and the other is a tape. 

Image description

Example thermoplastic layup

Image description

SCRAM material feed system

I designed a material storage and accurate feed system to meet the unique requirements of the SCRAM system. This assembly needed to mount onto the process end effector, store three different materials, be able to change material spools quickly, actively pay out the material, and select which material is to be dispensed.  


Being able to quickly change the materials was important to this project because the large aerospace structures that this system was designed to create require much more material than a typical 3d printer. While the spools of material resemble what you would see on a typical extrusion printer, they are widened to hold more material and still a single print will use several spools of material. On other printing systems these spools are often dispensed from some sort of shaft that runs through the center of the spool. having a center shaft would make removing and adding spools difficult. Instead, I designed a pneumatically driven arm an roller which secure the material in place and allow for the spools to be changed one at a time. The user toggles a pneumatic valve to select the position of the roller arm. The roller contacts the material itself to keep the spool wound tight during operation. 

The material feed assembly must actively dispense the material as it is being used. During a print, only one material is used at a time and the other two are idle. I designed a method of dispensing only the chosen material using a single servo motor and three guided air cylinders. The servo motor turns a belt driven shaft that run along the back side of the three spools of material. The shaft has six urethane rollers which contact the rim of the material spools. Bellow the drive shaft are three guided air cylinders with brass rollers that can contact the rim of the spools when the cylinders are extended. Doing so pushes the spool off of drive shaft. The spool is able to move a small and still be securely held in place because the force of the selection cylinder can overcome the force of the roller arm. By extending two of the the selection cylinders and retracting the third, only one material spool contacts the drive shaft so that one can be dispensed. 

Image description

Example thermoplastic layup

Image description

Material change operation

Image description

Side view, material feed assembly

When the SCRAM system is building a part, it must accurately dispense the correct quantity of material for each length of the toolpath. The process ends of the system have their own feed mechanisms which grip the material and drive it into the extruder or tape laying ends. It is possible to leave the spools of material free spinning and allow the process end feed to drag the material our of the spool. This creates reliability problems because the material is more likely to get jammed or slip due to added tension in the material.  


I designed a feed system which is slaved to the process end feed by measurement of tension in the material. When it is time to dispense material the process end pulls on the material which increases tension in the line and will move a small air connected to a roller that touches the material. based on the position of that air cylinder the spool of material is advanced or reversed to keep consistent tension in the line. The video bellow shows this slave mechanism in action. It is hard to tell exactly what is happening in this video without some explanation. off-camera a person is pulling down on the material, or releasing the material. The small measurement air cylinder mentioned can bee seen towards the bottom of the frame. The spool of material rotates in both directions to either feed out or return the material to the spool. 

Automated Fiber Placement

An Automated Fiber Placement (AFP) head is a piece of aerospace manufacturing equipment used to deposit uncured composites onto a mold. The AFP heads carry spools of material ranging from 1/8” wide to 1/2” wide tapes. Each head contains its own electrical, pneumatic and controls system and can be mounted to a gantry machine or industrial robot arm.  


I worked to design and improve mechanical systems on the creel and the process ends of these end effectors. I also worked to support legacy AFP heads used in production facilities around the world.

Image description

Large gantry AFP machine

Image description

AFP Robot cell

Because of each customer’s unique application, each new project involves a large amount of design changes to these heads. I lead a team of six engineers to create a new AFP head for the National Composite Centre (NCC) in Bristol, UK. This project involved adapting the widest format material (1/2”) to the smallest head format (8-spools) in order to fit the head inside a female tool. The NCC also required the integration of a xenon flash lamp heater in addition to a standard infrared heater. 

Click here to start customizing​In order to meet these specifications we needed to design an almost completely new head. My team and I took advantage of this opportunity to correct many constraint problems and inconveniences which persisted on older AFP heads. After completion, these designs were quickly propagated to four new projects for other customers and have become a standard offering for Electroimpact. ​

Image description

AFP robot rotator demonstration

Image description

Carbon fiber tape layup

In addition to design work, I was responsible for some aspects of the construction and commissioning of AFP systems. Troubleshooting the problems seen on this equipment requires intimate knowledge of the mechanical, electrical, pneumatic, and controls systems and how they interact with each other. Through many cycles of design, testing, delivery and support I have learned how to better design for the whole life cycle of a product.  

Image description

AFP head

Image description

AFP head CAD

Vacuum valve patent

A typical robotic sorting system with a vacuum gripper head uses a large, remote mounted, blower or pump to generate vacuum. The blower is connected to the gripping head using vacuum rated tubing and ​a valve is added to control vacuum to the gripping head.  When we built these sorts of vacuum setups, we would place one large valve on the 3rd axis of the robot. There are two major drawbacks with this configuration. One is the time it takes to apply vacuum to the target and the second is that there is no option for zoning. Zoning refers to when some suction cups on the gripping head are deactivated, usually because full coverage of a small object does not require all of the suction cups.  


The time it takes for the vacuum to activate or deactivate on the gripping head is a function of the actuation time of the valve and the time it takes to evacuate air from the hose and gripping head. For many applications, the activation time can be compensated for by offsetting the valve opening time ahead of the expected arrival time of the gripper to the product.  

Image description

Typical single valve arm

Image description

Vacuum valve on gripper

Click here to start customizingWhen the activation time becomes an issues is when the cycle rate of full system approaches the activation time of the vacuum. Modern advances in machine vision have pushed these types of sorting systems into sub 2 second cycle times. That is, that the robot will retrieve a product from a sorting bin, present the product to a barcode scanner, deposit the product onto a conveyor belt and return to the bin for a new product within 2 second. The actuation time of the large valve described​ is around half of a second and at these short cycle times, many products would be dropped or mishandled.  


My solution to this problem is now called US20220379495A. 


​ "A valve device comprising a valve housing with a flow channel having a fluid outflow side and a fluid inflow side, a leaf spring having a fastening portion and a free portion. The fastening portion is connected to the valve housing such that, in a closed configuration, the free portion bears against a valve seat and that, in order to bring about an open configuration, the free portion, from the closed configuration, can be elastically bent away from the valve seat, and an actuating device which is designed to transfer the leaf spring from the closed configuration to an open configuration against an elastic reset force of the leaf spring."

Image description
Image description
Image description

This solution drastically improves activation time of the vacuum and also allows for zoning of the suction cups while still using a single blower for the source of vacuum. The advantage of this solution lies in the fact that the valving has been moved as close to the suction cup as possible. This means that all of the air can be evacuated from the vacuum lines before the valve is opened. The valve itself is opened by a compressed air line moving a piston which is orders of magnitude quicker that the large single valve. Since each suction cup must be commanded on individually, the cups can be activated in whichever configuration is best for the product being handled. Additionally ports were add to this device to supply a burst of compressed air, used to break the suction when dropping the product, and to monitor the pressure inside each suction cup.  


This project was the outcome of my own initiative and resulted in the first design patent awarded to the USA branch of Schmalz. This valve concept is being released as its own product line from Schmalz as well as integrated into existing product lines.  

Robotics Controls and Programming

The Automated Fiber Placement (AFP) heads and Kuka robots I worked with are controlled with Seimens PLCs, CNC, and a custom built HMI. As an engineer working on the development of the AFP heads, one of my responsibilities was to commission and test the entire AFP system before it was sent to the customer. This commissioning involved setup of the robot's CNC and PLC, setup of the head's PLC and integration of new equipment into the controls system.  

Image description

Composite layup path generation

Image description

Motion simulation

For example, one of the AFP heads I designed featured a new infrared heater design along with new current regulators to power the heater. To insure consistent heat was applied to the carbon fiber tape at a variety of different running speeds I had to characterize the heat output of the four separate infrared emitters. I did this by correlating the commanded power to the current regulators, to the temperature of the carbon fiber, measured with thermocouples, at a variety of different speeds. This experiment gave me the desired power command at each speed. With that knowledge I wrote a PLC function which controlled the heaters output based on the speed of the robots tool point. 

Image description

PLC ladder program

Image description

Siemens plc inputs and outputs

End Effector Stands

One important feature of AFP systems is that the end effectors can be quickly placed into a stand and exchanged for a different end effector. Some of these stands move or rotate the end effector for operator or maintenance access. 


​I have designed several of these stands for different end effectors. In general, the stands consist of large steel weldments which are anchored into concrete. The weldments are built from tube steel and brake formed steel sheet. The sands need to repeatably locate the end effector for pickup and drop-off.

Image description

Equipment in lift

Image description

Lift with static stand

For one project I designed a stand which would lift a 1,500lb end effector to a position where it could be picked up by a gantry machine. My design uses a servo driven acme screw to lift the end effector. Linear rails and bearing cars were used for accurate and repeatable positioning.  The structure was required to withstand a strong earthquake without falling over.  

Image description

Cantilever stand

Image description

Two static stands with equipment

Baja SAE

Baja SAE is an international intercollegiate competition where teams design and build off-road vehicles to meet a rigorous set of regulations. The competition evaluates teams in both static and dynamic events: static events assess the team’s design strategy and ability to present their work to a panel of judges, while dynamic events test the vehicle's performance and durability. At NMT, the Baja SAE Team is structured as a Junior/Senior Design Class, with students collaborating to design, fabricate, and test a new vehicle each year before competing.


During my junior year, I served as the suspension design lead. I developed a MATLAB optimization tool to streamline the suspension design process. This code analyzed millions of potential suspension geometries within predefined parameters and calculated critical behavior metrics to ensure optimal performance. By combining these results with practical knowledge of the vehicle’s dynamics, I contributed to a design that balanced maneuverability and stability. My hands-on role extended into fabrication, where I honed my skills in TIG welding, tube bending, and notching to construct the suspension system. These experiences solidified my understanding of the iterative relationship between design and manufacturing.

Image description

2013 competition car

Image description

2014 competition car

As team leader in my senior year, I assumed responsibility for managing the entire project. I organized the team into sub teams, appointed leaders, and coordinated efforts to meet strict deadlines. I oversaw the frame design process, conducting FEA simulations to optimize crashworthiness and ensure compliance with competition safety standards. I also managed the team’s budget, secured funding, and acted as the primary liaison with faculty and students. 

Image description

Solidworks suspension model

Image description

Dynamic testing

Image description

Rolling chassis

I put forward two main goals to my team, to reduce the overall weight of the vehicle and to increase the reliability. To accomplish the former, we started by completely disassembling the previous years vehicle, weighing each component and creating a weight budget. The budget outlined how much weight would need to be reduced from each subsystem to achieve the desired reduction. This approach gave the team the guidance needed to reduce the cars weight by 65lbs (450lbs to 385lbs). For the reliability portion, the solution was simple. Get the car built early and test it. We were able to accomplish this and through many hours of testing we were able to find and improve upon the weakest components. 


​We took the completed car to competition at the University of Texas El Paso. Our efforts were rewarded with the best finish our school had at a competition in a decade.